Recently we’ve been notified Panasonic was granted a patent for a Boxy cam design that included a flippy screen. If this becomes a real product Panasonic will be the 1st compact box camera with a built- in flip monitor.

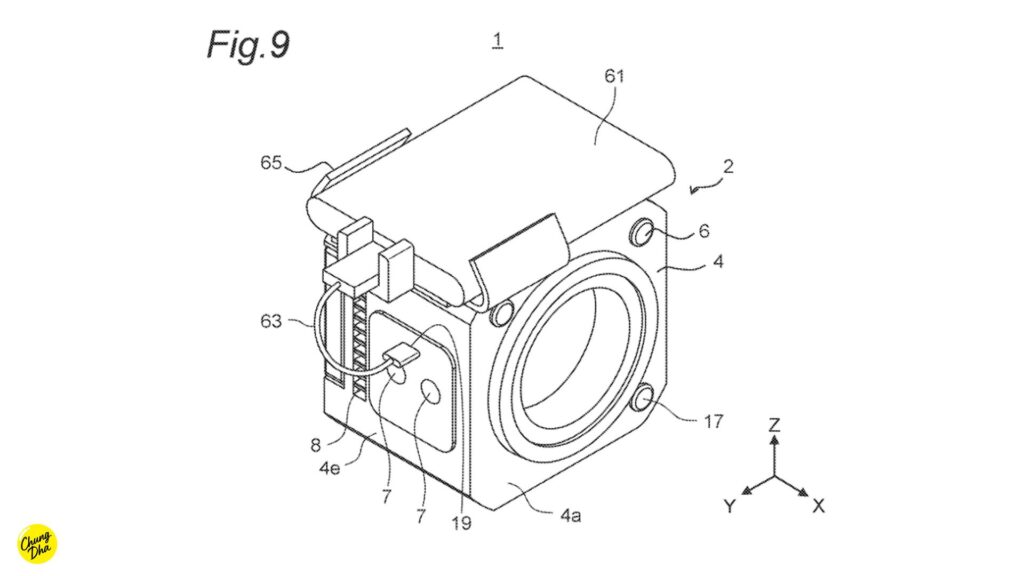
Let’s look at the design and see what we might expect with this new camera. Though the design is very similar to the Panasonic BGH1 and BS1H, the major difference is on the back of the camera. They removed the large battery plate and now have a screen that is noticeably able to flip out. A lot of filmmakers have been requesting a flip out screen on a boxy camera for a while and it seems that Panasonic will be the 1st to make this wish come true.

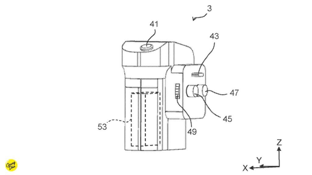
But now the question is how it will be powered, well it seems the hand grip will be one of the methods to power the camera with a small camera battery. Likely the same Panasonic Mirrorless battery DMW-BLK22.
And people who would be rigging the camera would most likely have a DC power port somewhere on the camera like on the BS1H, to attach to a v-mount plate.

The design also seems to lack a lot of buttons compared to the BS1h, however it could be that this patent just isn’t showing everything as it is also not showing many ports. And a lot of things might be hiding behind the flip screen.
What we do know with Panasonic Mirrorless cameras is that we can access and change a lot of settings via the touchscreen, so a lot of buttons might not be needed.

On the side of the camera there is a USB-C port which will have multiple functions, not only to connect the grip to allow you to trigger record, but the USB-C is also for recording to external SSD drives or connecting a USB-C microphone onto the camera.

On the back we can see two BNC ports and either a network port or HDMI, but most likely a NDI port for livestream use and camera control from a distance.
The sensor size from this camera looks like it’s going to be Full Frame, but I do hope they are going to make this to have IBIS as the biggest reason the BGH1 and BS1H failed is missing the sensor stabilization while you could buy the Photo camera version which does have IBIS to get very stable walking shots, while BGH1 would needed to put on a gimbal to get steady shots.
I always liked the Panasonic GH line as they always listened to the users and market bringing out upgrades everyone wanted from them and was for a long time front runner of higher FPS and Resolutions and making a camera with minor things to complain about. But since the release of Full Frame and also BGH1 and BS1H , the cameras have been in odd positions where they are missing important features.
But the Panasonic S5iix has put them back on the right road and hopefully this boxy camera has the features of the Panasonic S5iix but also includes the very stable IBIS.

So who is this camera for, while the original BGH1 and BS1H were actually more designed for live streaming or broadcast use, that is why they didn’t include IBIS, but with the design of the grip, this camera also be more likely used for handheld filming use and have a higher change we would see 1st boxy Cinema camera that includes Ibis also.
